一、結構簡介
GW9- -10、12 (G)型戶外單極隔離開關(以下簡稱開關)適用于10千伏高壓輸配電線路上,用以切斷和閉合無負載有電壓的單相或三相電路。開關供三相線路系統單相使用,其結構簡單、經濟,使用方便。
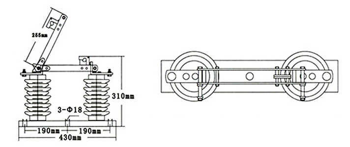
開關的額定電流有200、400、630、 800、1000安, 它們皆由底座、支柱絕緣子、導電部分和機構部分組成。采用閘刀式結構分合閘達到切斷和閉合線路。每相閘刀由兩片導電刀片組成,刀片兩側裝有壓縮彈簧,調節彈簧的高度可以得到開關閘刀所需要的接觸壓力。開關分合閘時用鉤棒操作機構部分便可以進行合閘運動。閘刀有自鎖裝置。開關的外型見圖所示。
二、使用環境條件和主要技術參數
1、使用環境條件
(1)海拔高度不超過2000米;
(2)環境溫度:最高不高于+40;最底不低于30C ;
(3)戶外風速不超過35米/秒;
(4)地震強度不超過8級;
(5)安裝場所應無嚴重影響開關絕緣和導電能力的氣體、蒸汽、
化學性質沉淀、鹽霧、灰塵污垢、及其他爆炸性、侵蝕性介質。
2、主要技術參數

三、安裝、使用和調整
1.安裝前的工作
(1)消除另件上的灰塵、污物,仔細擦除絕緣瓷瓶的表面;(2)在轉動部位和接觸處涂一層工業凡士林;
(3)檢查接觸面,調節壓縮彈簧的寬度,使接觸壓力
符合下表:
(4)本開關只適用于吊裝使用如圖四所示,它-般與線路上的
變壓器配合使用;
(5)本開關額定電流在200 - 400A一般只使用二個安裝孔,
630- 1000A的使用三個安裝孔;(6)安裝方式和安裝尺寸見圖所示;
2.每年定期檢查開關下列部位
(1)清除塵垢、特別是導電部分、接觸面處和絕緣瓷瓶表面等;
(2)檢查各另件部件有無損傷特別注意檢查絕緣瓷瓶有無損失破裂現象;
(3)檢查導電部分的接觸面是否良好;
四、運輸與保管
1、本開關經制造廠以單相型式裝配、調整、試驗合格后按- -定規格包裝;
2、運輸時不得倒置,不得受到強烈震動和碰撞。
3、開關運到目的地后,包裝木箱應無松散、損壞現象方可拆箱;
4、拆箱后,檢查產品及隨附的產品合格證、安裝使用說明書等是否齊全;
5、檢查開關各另部件有無損傷和絕緣瓷瓶碎裂現象;
6、若開關不馬上使用,應作定期檢查,并在接觸面處和轉動部位涂- - 層工業凡士林;
五、外型結構與安裝尺寸
圖一GW9-12型隔離開關單、雙接線孔外型及安裝尺寸
圖二GW9-15型隔離開關的外型及安裝尺寸
圖三CW9-10G型隔離開關的外型、安裝尺寸及接線圖
圖四隔離開關的安裝方式
推薦資訊 / Recommended News
- 2022-08-24 持久淺談真空斷路器的理倫
- 2022-08-24 持久淺淡真空斷路器
- 2022-08-24 智能真空斷路器的技術問題解答
- 2022-08-24 ZW32真空斷路器核心作用
- 2022-08-24 真空斷路器比較難處理的問題
- 2022-08-24 高壓真空斷路器的維護安裝
- 2022-07-23 真空斷路器壽命是哪些因素影響的
- 2022-07-23 真空斷路器跳閘次數多有沒有影響
- 2022-07-23 真空斷路器試驗過程中的事項
- 2022-07-23 真空斷路器原則和功能的研究范圍
樂清市持久電氣有限公司
收藏本站
聯系持久







